哪吒汽车有钱了?将偿还近5000万元欠款!内部人士:30亿元融资还没到账!App和官网已恢复正常,知情人士:断网因流量欠费
哪吒汽车有钱了?
5 月 7 日晚间,A 股公司埃夫特(SH688165)发布公告称,经江西省宜春市袁州区人民法院主持调解及确认,公司与合众新能源宜春分公司(以下简称宜春合众)、合众新能源汽车股份有限公司(哪吒汽车母公司,以下简称合众新能源)就剩余合同款项支付的相关事宜达成合意。

每月还 800 多万元
还不上还要承担逾期利息
埃夫特发布的《民事调解书》显示,宜春合众、合众新能源尚欠埃夫特设备款约 4915.09 万元,宜春合众、合众新能源同意自 2025 年 6 月至 2025 年 11 月(共计 6 个月),于每月 30 日之前向埃夫特支付约 819.18 万元,埃夫特自愿放弃其他诉讼请求。

对于上述埃夫特提及的金额是否能如期还上,《每日经济新闻》记者第一时间向哪吒汽车方面进行求证,但截至发稿未获回应。
埃夫特成立于 2007 年,经营范围包括工业机器人整机及其核心零部件、系统集成的研发、生产、销售。" 若对方如约履行付款义务,后续收回应收账款将对公司未来利润有一定积极影响。" 埃夫特方面称,若宜春合众、合众新能源有任意一期未能按时足额付款,则应承担逾期付款利息,公司有权对逾期时所欠全部设备款金额及逾期付款利息向法院一次性申请强制执行。
《每日经济新闻》记者注意到,除埃夫特外,亿纬锂能、蜂巢能源等公司也与合众新能源有买卖合同纠纷。其中,蜂巢能源与合众新能源的买卖合同纠纷将于 5 月 14 日开庭;亿纬锂能与合众新能源的买卖合同纠纷开庭时间为 5 月 21 日。
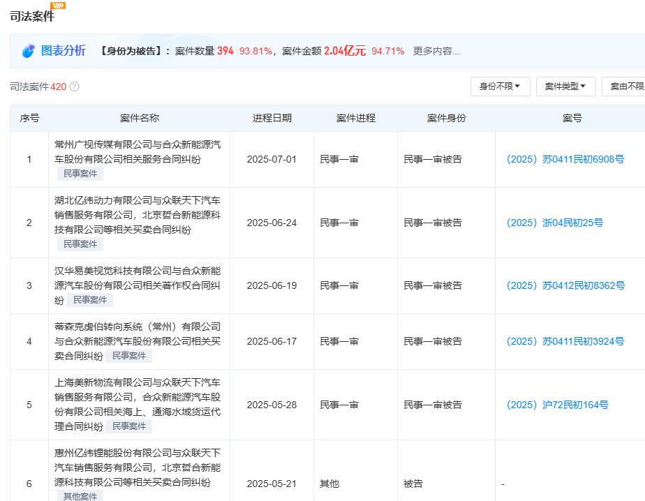
天眼查显示,合众新能源拥有 420 起司法案件(2025 年新增司法案件高达 159 起),累计金额高达 2.4 亿元。其中,涉及买卖合同纠纷案件有 88 起,占比超 20%。从案件年份来看,合众新能源近五年内 65.71% 的案件年份为 2025 年,占比最高,新增案件高达 159 起。


" 五一 " 期间 App 断网、官网掉线
知情人士:主要是流量欠费
5 月 4 日,多位哪吒车主在社交平台发布消息称,从 5 月 2 日开始,他们都遇到了哪吒汽车 App 断网、车辆远程操控功能无法使用等问题。不仅如此,哪吒汽车官网也出现了无法访问的情况。
5 月 3 日,一位网名为 "model" 的用户发文称," 哪吒 App 又崩了,很无语,没带钥匙现在彻底打不开车门了 "。
从网友发布的哪吒汽车 App 截图来看,有的无法登录,显示 "HTTP 502 Bad Gateway" 的错误提示;有的车主则称,尽管可以打开 App,但汽车定位无法更新,或者无法查看充电提示和续航里程等信息。

图片来源:抖音(@蜓蜓)
对于此次哪吒汽车 App 出现的上述问题,《每日经济新闻》记者多次致电哪吒汽车客服,但电话皆处于长时间无人接听状态。不过,有车主称,其 5 月 3 日在微信群里看到通知,哪吒汽车 App 后台正在做维护,无忧界面功能暂时不能使用,恢复时间另行通知,并提醒车主带好机械钥匙。
5 月 5 日,《每日经济新闻》记者查阅哪吒汽车 App 及官网发现,App 断网、官网无法正常访问等问题已解决,恢复正常使用。"此次哪吒汽车 App 出现断网等问题,主要是流量欠费,假期无人看管造成的。" 一位不愿具名的知情人士向记者透露。
值得一提的是,这并非哪吒汽车官网和 App 首次被曝出现异常。今年 1 月 6 日一早,哪吒汽车官网出现异常,打开后页面提示 " 系统维护中,请稍后再试 ",当天下午 4 点后恢复正常;4 月,有多位车主发布消息称,哪吒汽车 App 出现断网的情况,导致蓝牙钥匙失效、车机系统无法联网、App 远程控制失灵等问题。

此前被曝大规模裁员、停工停产
内部人士:30 亿元融资尚未到账
事实上,早在 2024 年 10 月,哪吒汽车因经营困境就开始被曝出大规模裁员、降薪、拖欠供应商货款、停工停产等负面消息。同年 12 月,因公司战略调整,张勇不再担任 CEO 转任公司顾问,方运舟被推至幕前,出任公司 CEO。" 哪吒汽车一直在艰难地活着,在悬崖边。创业十年,经历过诸多黎明前的黑暗。" 方运舟曾对外表示。
方运舟接手后,对哪吒汽车采取了多种降本增效措施,包括员工优化、营销渠道调整、缩减智驾投入等。不过,一系列内部调整后,哪吒汽车的经营困境并未得到明显改善。在今年 3 月和 4 月,哪吒汽车的一些供应商和经销商要求方运舟对他们提出的一系列问题给予正面回应。
今年 3 月,陆续有供应商前往哪吒汽车上海总部寻求解决方案。为此,哪吒汽车组织了一场以 " 化债 " 为目的的供应商大会。3 月 25 日,哪吒汽车方面宣布,已与国内 134 家核心供应商达成总计超 20 亿元的债转股协议。此次债转股计划获得宁德时代、国轩高科、北斗智联、绿野汽车照明等头部供应商积极响应。
到今年 4 月,哪吒汽车经销商代表到哪吒汽车桐乡工厂门口提出相应的诉求。彼时,方运舟与经销商沟通时曾鞠躬致歉并表示," 会尽快解决问题 "。
事实上,为解决经营困难等问题,哪吒汽车一直在寻求融资。1 月 24 日,哪吒汽车召开了一场股东沟通会,讨论 E 轮融资,计划融资规模约 40 亿 ~45 亿元,其中领投方将投资约 30 亿元。
按照规划,债务问题解决后,哪吒汽车 E 轮融资中领投方的 30 亿元计划在 4 月份到账,主要用于全面恢复生产和未来发展。不过,记者从哪吒汽车内部人士处了解到,截至目前,上述资金尚未到账。