热搜词: 2026 2025 admin请输入关键字 ad\'
首页 学习 生活 综合 科学 资讯
学习
美参议院通过“大而美”法案,民主党议员批该版本“劫贫济富”学习

美国总统特朗普提出的“大而美”法案在参议院获得通过,距离成为正式法律又近了一步。对于美国底层民众而言...

云南大临铁路受强降雨影响一区间发生水害,铁路部门正全力抢修学习

7月2日,因强降雨影响,云南大理至临沧的大临铁路茂兰至云县区间发生水害,铁路部门已启动应急预案,正组...

公募降佣一周年:“软佣”销声匿迹,券结模式占今年新发基金超四成学习

界面新闻记者| 杜萌公募基金降佣新规实施已一年时间。2024年7月1日,《公开募集证券投资基金证券交...

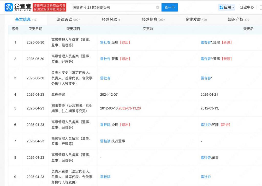
罗马仕法定代表人、高管变更,任期不足三个月学习

大象新闻记者王瑞麟企查查APP显示,近日,罗马仕关联公司深圳罗马仕科技有限公司发生工商变更,雷社杏卸...

公安部公布涉民生等领域网络谣言典型案例,陈某编造传播“在工行购买的金条剪开发现杂学习

资料图7月2日,公安部公布涉民生等领域网络谣言8起典型案例,其中包括此前备受关注的“工行两售出金条发...

被控受贿数额特别巨大,中国联通原副总经理曹兴信被公诉学习

记者辛圆据最高人民检察院7月2日消息,中国联合网络通信集团有限公司原党组成员、副总经理曹兴信涉嫌受贿...

力保中小学生溺亡事故“零发生”!江西新余再次启动“水花行动”,织好“生命守护网”学习

学生在游泳馆学习技能。“孩子们从畏水到熟练,收获的不只是技能,更是挑战自我的勇气。”7月1日,新余市...

万斯关键时刻“表忠心”,特朗普考虑“吃掉”马斯克学习

万斯一票"破局",美参议院通过"大而美"法案据央视新闻报道,...

防范私域直播套路老年人,市场监管总局和中消协联合提示学习

近期,市场监管总局在全国部署开展老年人药品、保健品虚假宣传专项整治工作。在专项整治过程中,市场监管部...

科技早报 | 小米推出月租1999元员工公寓;抖音否认存在“0粉获取带货权限”渠学习

小米在北京、南京推出月租1999元员工公寓,应届生优先7月1日,小米集团副总裁张剑慧在社交媒体平台发...

  • 首页
  • 上一页
  • 1246
  • 1247
  • 1248
  • 下一页
  • 末页
  • 最近添加
    江西宜丰一村民被邻居一拳打倒在地,警方通报:双方均 《阿凡达3》预售票房破3000万元,博纳影业股价跌 匈牙利外长:若禁运俄能源提案获准,匈将向欧盟法院起 美乌新一轮柏林会谈结束,美官员称“取得进展” 袁海霞:增强居民和企业获得感,期待收入分配等结构性 首批车型获准入许可L3级自动驾驶体验如何? 乌代表团团长:乌美谈判取得“切实进展” 中部水运大省,盯上下一个新能源“风口”

    最近推荐

    • 江西宜丰一村民被邻居一拳打倒在地,警方通报:双方均有受伤
    • 《阿凡达3》预售票房破3000万元,博纳影业股价跌停
    • 匈牙利外长:若禁运俄能源提案获准,匈将向欧盟法院起诉
    • 美乌新一轮柏林会谈结束,美官员称“取得进展”
    • 袁海霞:增强居民和企业获得感,期待收入分配等结构性改革
    Copyright © 2012-2024 某某公司 版权所有吉ICP备13000426号-2 | XML地图