界面新闻记者 赵阳戈
在数字化转型的浪潮中,商业大数据服务正成为连接企业与市场的重要桥梁。企查查作为这一领域的知名企业,近日正式向沪市主板递交招股书,引发市场广泛关注。招股书显示,公司拥有超过1.5亿的累计注册用户,业务保持较高毛利率。
尽管过往财务数据表现亮眼,但企查查的新用户增长放缓与停付用户数量攀升值得注意。与此同时,IPO前夕重要股东的减持套现,以及保荐机构关联方现身股东名单等动态,也为企查查的上市之路增添了不确定性。
毛利率升至90%,C端收入占比超七成
企查查成立于2014年3月,通过整合各级政府部门、司法机关和行业协会等公开信息,为个人和企业用户提供商事主体的信用评估、风险监测、商机挖掘和资讯推送等服务。这些服务不仅帮助个人用户快速了解企业背景,也助力企业用户提升商业决策效率。
企查查的市场地位建立在庞大的用户基础之上。截至2025年6月末,公司累计注册用户已突破1.5亿,月活跃用户数保持在8000万以上。在业务模式上,企查查面向个人用户的会员服务主要通过App和Web端等渠道直接销售,按服务期限收费;企业级业务则依靠自有销售团队进行推广,B端产品主要面向的是各行业供应链、法务、财务、销售、战略部门,金融机构风控部门、地产行业招商部门、媒体及各类专业服务行业。企查查C端的收入占比超过七成。

2022年至2024年,企查查的营业收入从5.18亿元增至7.08亿元,年均复合增长率达到16.89%;同期扣非净利润从1.62亿元增至2.98亿元,年均复合增长率35.42%。2025年上半年,公司实现营业收入3.75亿元,扣非净利润1.61亿元。
业务规模扩大的同时,企查查的净利润率稳中有升。尤其引人注目的是公司的毛利率水平,2022年至2025年上半年分别为87.24%、88.51%、88.81%、90.74%,与贵州茅台(600519.SH)91.3%的毛利率相差无几。
企查查现金流状况也相对健康。
2025年上半年,公司应收账款余额为1536.37万元,占流动资产比例为0.82%;货币资金保持在1.21亿元水平,而在2023年时这一数字一度达到5.49亿元;经营活动产生的现金流量净额2.37亿元。
同时,公司资产负债率从2022年的48.58%降至2025年上半年的39.24%。公司合同负债和预收款项常年保持在2亿元以上,显示出良好的业务预收款能力。2022年和2023年,企查查分别实施了1亿元和2亿元的分红。
基于上述情况,企查查此次的募投计划中,并未有补充流动性的安排。
公司计划募资15亿元,主要投向研发方面的建设。不过,界面新闻注意到,企查查的研发投入占比低于同行平均值,2025年上半年数据16.05%,而行业平均值为23.57%。
据了解,企查查目前在商业数据服务领域的竞争对手主要为天眼查、启信宝、爱企查等,这些竞争对手分别成立于2014年、2006年、2001年,上述品牌对应企业分别为金堤科技、合合信息(688615.SH)、百度网讯。参考灼识咨询和QuestMobile提供的数据,2023年,企查查市场份额、移动端活跃用户数排名第二,移动端应用商店下载量第一。
趋势待观察:新增付费用户数与停付用户数倒挂?
通过对用户数据的深入分析,可以更清晰地了解企查查的发展状况。
2022年至2025年上半年,公司累计注册用户数分别为8821.51万、11548.2万、13920.53万和15078.92万。经计算得出,2023年至2025年上半年企查查的新增用户分别为2726.69万、2372.33万、1158.39万。其中,2024年新增用户数较2023年减少了354.36万。因为2025年全年数据尚未公布,目前尚不能判定新增用户数下降已明确趋势。
与此同时,企查查的用户活跃度也出现下滑趋势。
2022年至2025年上半年,企查查各渠道平均月活跃用户数分别为6467.64万、7291.54万、8420.75万和8011.25万,占累计用户数比例从73.32%逐步下降至53.13%。这一变化表明,尽管用户总量在增长,但用户的活跃程度和参与度有所降低。
付费用户方面,2022年至2025年上半年,企查查的付费用户数分别为90.62万、102.14万、104.8万、54.83万。其中,新增付费用户数分别为52.13万、55.56万、50.76万、25.11万,新增付费转化率核算下来比例保持在2%左右,这一比例相对稳定。
2023年和2024年,企查查分别有40.61万和52.9万的付费用户选择停止付费,特别是在2024年,流失的付费用户数甚至超过了新增付费用户数。
企查查会员的续费率各期分别为54.13%、57.21%、56.55%和56.27%,保持在相对稳定的水平。平均订单金额和ARPPU(付费用户平均收入,即付费金额/付费用户数)均保持增长态势,这两个指标在2025年上半年双双突破了600元大关。
综合来看,企查查目前的业务规模主要依靠总付费用户数的稳步增长和ARPPU的提升来支撑。展望未来,如何在拓展新用户的同时,通过提升服务质量来增强用户黏性,降低用户流失率,将是企查查需要认真面对和解决的重要课题。
股东结构变动,万得信息上市前减持
企查查自2014年成立以来,共完成了10轮融资。最早的天使轮融资发生在2015年2月,当时公司估值为2200万元;最新的D+轮融资在2023年10月完成,公司估值已达到100亿元。
从天眼查平台查询的信息显示,企查查的D+轮中出现了中信证券投资有限公司,这家公司由中信证券(600030.SH)全资控股,而中信证券恰好是企查查本次IPO的保荐机构。
在公司股东结构中,第二大股东上海荷花缘企业管理中心(有限合伙)(以下简称“荷花缘”),持股比例为16.34%,仅次于“85后”实控人陈德强。
资料显示,荷花缘成立于2020年9月,其背后是知名企业万得信息技术股份有限公司(以下简称“万得信息”)。透过天眼查大数据分析,万得信息共对外投资了20家企业,荷花缘是其中的投资平台之一。
2019年10月,万得信息领投、兴富资本跟投,完成了企查查的C轮融资。该轮融资总额5亿元,公司估值达到30亿元,当时万得信息持股比例为16.92%。到2024年7月,万得信息将其所持有的企查查股权,转让给了荷花缘。
2024年11月,荷花缘、自然人股东杨京分别将持有的170.6万股、42.6万股,转让给了宁波君安控股有限公司,此次转让后,荷花缘持股比例降至16.34%。这个时间点恰好发生在企查查完成上市辅导前后。这意味着,万得信息在企查查IPO前兑现了部分投资。
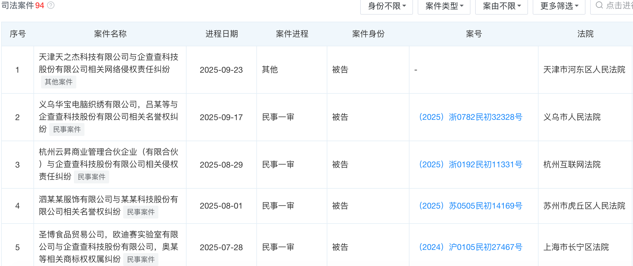
除了股东结构变化,企查查面临的法律风险也值得关注。企查查坦言,在客观上难以保证所有数据的准确性,若出现数据匹配、展示有误将可能引发诉讼纠纷。
根据天眼查的数据统计,企查查涉及的司法案件记录共有94个,仅2025年以来就有24个。最近的一起是2025年9月23日,企查查与天津天之杰科技有限公司的网络侵权责任纠纷;同样在9月份,公司还与义乌华宝电脑织绣有限公司以及吕某等存在名誉权纠纷。