24个省GDP超过新西兰,我们为什么还觉得有差距?

最近,各省(直辖市、自治区)都在公布 2025 年 GDP 数据。(为了方便表述,下面都一起叫 " 省 ")
我也是做了一个比较,竟然发现一个震惊的事实:
我们现在已经有 24 个省的 GDP,比新西兰还要高。
先上数据。
2024 年,新西兰 GDP 是 2601.72 亿美元,简单换算成人民币不到 1.81 万亿元人民币。
新西兰现在还没有公布 2025 年 GDP 数据,但是根据资料 2025 年第三季度 GDP 增长了 1.1%,可以预见比 2024 年数据也高不到哪儿去。
下面是,我们各省 2025 年 GDP 数据:

图源:东方财富图解财经
最接近新西兰的是天津、黑龙江,其中天津 1.85 万亿略高于新西兰,黑龙江 1.69 万亿又低于新西兰。
放在全国天津 GDP 排名第 24,黑龙江排第 25。
大陆一共有 31 个省份,换句话说,现在有 24 个已经超过新西兰。也就是说,超过 3/4 的省份比新西兰的 GDP 数据还高。
这是十分了不起的。
放在全世界,新西兰的 GDP 规模排到第 52 位(2024 年数据)。
再换个维度。
我们的龙头老大,广东 2025 年 GDP 是 14.58 万亿,如果单拎出来,放在全球几乎能排到前十大经济体。
排老二的江苏 14.24 万亿,比韩国要高。
当然,广东、江苏是经济大省,大家没感觉。
再换一个。
陕西,大家印象是西北地区,2025 年 GDP 是 3.66 万亿,放在全球就相当于泰国,排全球 30 位左右。
还比如,网友大家一直打趣的江西,GDP 是 3.6 万亿,比越南整个国家都高。

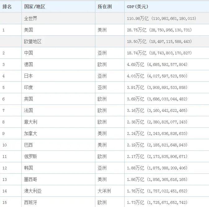
2024 年全球 GDP 前 15 的国家
这些事实,可能超乎大家的认知。
回到开头。
新西兰,是标准的发达国家,也是旅游或去定居的热门国家。
但它的经济实力,仅从经济数据上,并没有想象的那么强。
为什么会有这种出入?
换个角度说,怎么去解决这个反差呢?
我想最关键的有两招:
一是要让大家更有钱。
我们的蛋糕做大了,还要大家的口袋鼓起来。
这也是决策层提出来要 " 投资于人 "," 提高居民收入在国民收入分配中的比重,提高劳动报酬在初次分配中的比重 "。
简单说,就是让大家更有钱。
二是要继续反内卷。
用政策话语说,就是:综合整治 " 内卷式 " 竞争。
这个恐怕很多行业都有体会。
我们的光伏、新能源汽车做得越来越好,越来越便宜,一方面是我们的技术在进步,但客观来说,还和我们企业 " 内卷式 " 竞争有关系,工人的待遇、休息、福利没有很好的保障。
很多企业 996。
按理说,外国进口是 " 得了便宜 "。
但,欧美很多国家不领情也就罢了,还要搞关税壁垒。
我们的企业是吃力不讨好。
所以,GDP 数字的跃升只是第一步。
我们每个普通人能更真切感受到 GDP 增长,同样重要。
好在,政策层越来越关注这个问题。
可以预见,假以时日,说到新西兰我们不再会有更多美好想象。
因为,我们自己会变得越来越好。